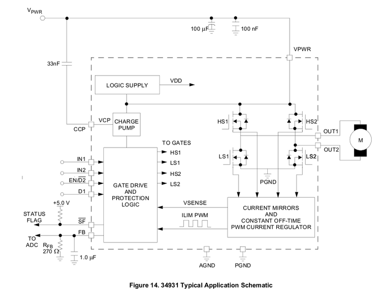
Fichier:Schematic gate driver.png
De Wiki d'activités IMA
Révision datée du 2 mars 2016 à 13:50 par Pmichel (discussion | contributions)
Taille de cet aperçu : 789 × 600 pixels. Autres résolutions : 316 × 240 pixels | 921 × 700 pixels.
Fichier d'origine (921 × 700 pixels, taille du fichier : 59 Kio, type MIME : image/png)
Historique du fichier
Cliquer sur une date et heure pour voir le fichier tel qu'il était à ce moment-là.
| Date et heure | Vignette | Dimensions | Utilisateur | Commentaire | |
|---|---|---|---|---|---|
| actuel | 2 mars 2016 à 13:50 | 921 × 700 (59 Kio) | Pmichel (discussion | contributions) |
- Vous ne pouvez pas remplacer ce fichier.
Utilisation du fichier
La page suivante utilise ce fichier :